SOPHIA ANTIPOLIS, France – July 07, 2020 | As announced earlier this month, optical component and materials maker II-VI has licensed Silicon Carbide (SiC) technology from General Electric with a view to move into power devices and modules. Just like Cree/Wolfspeed and Rohm Group Company (including SiCrystal), the main competitors of II-VI on the SiC wafer market, the new licensee aims to capitalize on the growing market demand for SiC-based power electronics, driven by the fast development of EV/HEV applications.
General Electric’s SiC power device technology has been reviewed in Knowmade’s report Power SiC Patent Landscape 2019 (MOSFETs -SBDs – Modules). “GE’s patenting activity took off in the late 2000s, focusing on the planar device architecture of SiC MOSFETs,” affirms Rémi Comyn, PhD, Technology and Patent Analyst Compound Semiconductors and Electronics at Knowmade. Indeed, as of 2020, GE’s patent portfolio includes over 30 patent families (i.e. single inventions patented in multiple countries) related to SiC MOSFETs, grouping over 30 granted patents and 40 pending patent applications, which reflects GE’s global IP strategy, extending over USA, China, Japan, and Europe.
According to Knowmade’s analysis, General Electric was the most active IP player on planar SiC MOSFET technology, but still a challenger for Cree/Wolfspeed and Mitsubishi Electric, as illustrated in Fig.1. Starting its patenting activity in the 1990s, Cree took the leadership on planar SiC MOSFET and currently holds over 90 granted patents worldwide, including numerous key patents in the domain, while GE’s patent portfolio was mainly composed of pending patent applications as of 2018. Yet within the last couple of years, GE has managed to convert a promising IP potential into a strong patent portfolio with more and more enforceable patents (Fig.1).

Figure 1: Evolution of GE IP leadership in the planar SiC MOSFET patent landscape.
Furthermore, GE’s current patenting activity related to SiC MOSFET technology has now shifted towards power converters based on this technology. “We’re observing a slowdown in GE’s patenting activity in the SiC MOSFET patent landscape, with only a couple of new inventions published since 2018, indicating that GE’s SiC MOSFET technology has reached a high level of maturity,” affirms Rémi Comyn. “GE’s patenting activity is now mainly related to the extension of US priority patents worldwide”. Apart from SiC MOSFETs and SiC-based converters, GE also published several new inventions related to low-inductance SiC power modules, e.g. patent US 10,021,802 (2018) and patent US 9,893,646 (2017).
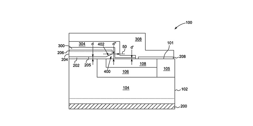
Interestingly, numerous patents filed by GE focus on issues related to the gate structure of planar SiC MOSFET, for instance the mitigation of negative bias temperature instability in the threshold voltage of SiC MOSFET devices. In patent US 10,367,089, GE’s inventors insert a dielectric layer disposed on the gate electrode and a remedial layer disposed on, within or below the dielectric layer in order to limit the variation in threshold voltage below 1 Volt. (Fig.2).

Figure 2: (Patent US 10,367,089) the remedial layer 123 is disposed on the dielectric layer 120 and is configured to mitigate negative bias temperature instability.

Figure 3: (Patent application EP 3,108,507) The gate insulating layer (202) e.g. SiO2 has a greater thickness at the corner of the layer than at the center. The gate electrode (204) comprises a polycrystalline silicon layer.
Moreover, GE’s patent portfolio addresses different building blocks of the planar SiC technology such as:
• Systems and methods for ohmic contacts (based on an annealed nickel silicide layer) in SiC devices (patent US 9,230,807)
• Electric field shielding in SiC MOSFET devices having an optimization layer (patent US 10,096,681)
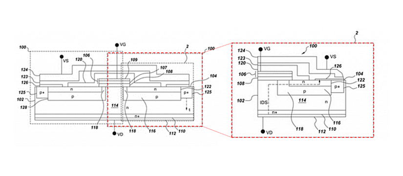
• A planar SiC MOSFET device with reduced electric field at the sharp corners of a gate electrode (Fig. 3), for enhanced device reliability (patent application EP 3,108,507)
• A non-planar SiC n-channel DMOSFET device with increased channel periphery (patent US 9,024,328)
More recently, GE has disclosed an invention related to gate networks having positive temperature coefficients of resistance (PTC) for SiC power devices (2019) and a second invention focusing on SiC devices having improved electric field suppression over the termination regions (2020).
In 2013, GE qualified its technology for the automotive industry (AEC-Q101, 200°C). In late 2016, the company entered high-volume production of SiC power devices at the New York Power Electronics Manufacturing Consortium (NY-PEMC) facility (SUNY Poly’s 150-mm SiC fab, Albany, USA), in addition to low-volume production at its existing 4-inch pilot SiC fab (GE Global Research Center, Niskayuna, USA). In 2017, in the framework of NY-PEMC, GE announced a manufacturing partnership with Danfoss to produce SiC power modules in Utica (NY, USA). Interestingly, Danfoss is a new entrant in the Power SiC Patent Landscape 2019 and filed 4 pending applications in 2018 related to the optimization of high-power conversion efficiency and high-power density modules based on SiC power devices.
The patent agreement between II-VI and General Electric will further promote the adoption of planar SiC MOSFET technology for the electrification of systems including, for example, industrial infrastructure, large data centers and vehicles (EV/HEV). “While most automotive-focused patent applicants such as Toyota Motor and Rohm seem to place the emphasis on trench SiC MOSFET technology for automotive applications, we’re also observing partnerships involving planar SiC MOSFET suppliers such as Cree/Wolfspeed to develop SiC-based automotive applications,” comments Rémi Comyn, PhD, Technology and Patent Analyst Compound Semiconductors and Electronics at Knowmade. By way of example, in November 2019, a strategic partnership was established between Cree/Wolfspeed and ZF, a leading automotive supplier, to enhance the electric powertrain with SiC-based inverters.
More related patent reports on Power electronics.
Press contact
contact@knowmade.fr
Le Drakkar, 2405 route des Dolines, 06560 Valbonne Sophia Antipolis, France
www.knowmade.com
About our analysts
Rémi Comyn, PhD, Rémi works for Knowmade in the field of Compound Semiconductors and Electronics. He holds a PhD in Physics from the University of Nice Sophia-Antipolis (France) in partnership with CRHEA-CNRS (Sophia-Antipolis, France) and the University of Sherbrooke (Québec, Canada). Rémi previously worked in compound semiconductors research laboratory as Research Engineer.
About Knowmade
Knowmade is a Technology Intelligence and IP Strategy consulting company specialized in analysis of patents and scientific information. The company helps innovative companies and R&D organizations to understand their competitive landscape, follow technology trends, and find out opportunities and threats in terms of technology and patents.
Knowmade’s analysts combine their strong technology expertise and in-depth knowledge of patents with powerful analytics tools and methodologies to turn patents and scientific information into business-oriented report for decision makers working in R&D, Innovation Strategy, Intellectual Property, and Marketing. Our experts provide prior art search, patent landscape analysis, scientific literature analysis, patent valuation, IP due diligence and freedom-to-operate analysis. In parallel the company proposes litigation/licensing support, technology scouting and IP/technology watch service.
Knowmade has a solid expertise in Compound Semiconductors, Power Electronics, Batteries, RF Technologies & Wireless Communications, Solid-State Lighting & Display, Photonics, Memories, MEMS & Solid-State Sensors/Actuators, Semiconductor Manufacturing, Packaging & Assembly, Medical Devices, Medical Imaging, Microfluidics, Biotechnology, Pharmaceutics, and Agri-Food.